Friday, July 19th, 2019 AT 5:09 AM
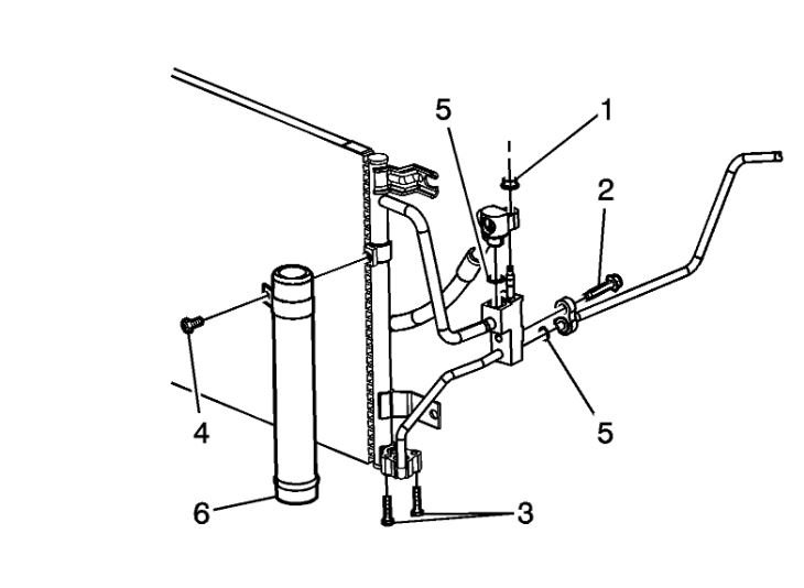
I changed the front and rear expansion valves. When I went to recharge the system, after pulling and making sure the system held a vacuum of 30in/hg of course, it would not take a full can of refrigerant. I discovered that the compressor clutch wasn’t engaging. I know I’m not supposed to do this, but I jumped pins 30 and 87 on the clutch relay, and the compressor ran and sucked in refrigerant like there was no tomorrow. After putting the recommended 2.2lbs of R134a, I was getting readings of 205 psi on the high side and 48-50 on the low side but, the clutch still would not engage unless the relay was jumped. This led me to believe that either the control module or pressure transducer was bad. I got a control module out of a wrecked vehicle instead of forking out over $400.00 on a new one. Installed it, reset the PCM and tried the A/C again. Nothing changed at all. I installed a new pressure transducer yesterday, reset the PCM, and again, nothing changed. I did notice that there is a connector in between the condenser coil and grill that isn’t connected to anything. Could this be for an ambient temperature sensor, and could that be the cause of the compressor clutch not engaging? If not, what in the world is going on, because I am baffled at this point.


