Sunday, October 3rd, 2021 AT 2:56 AM
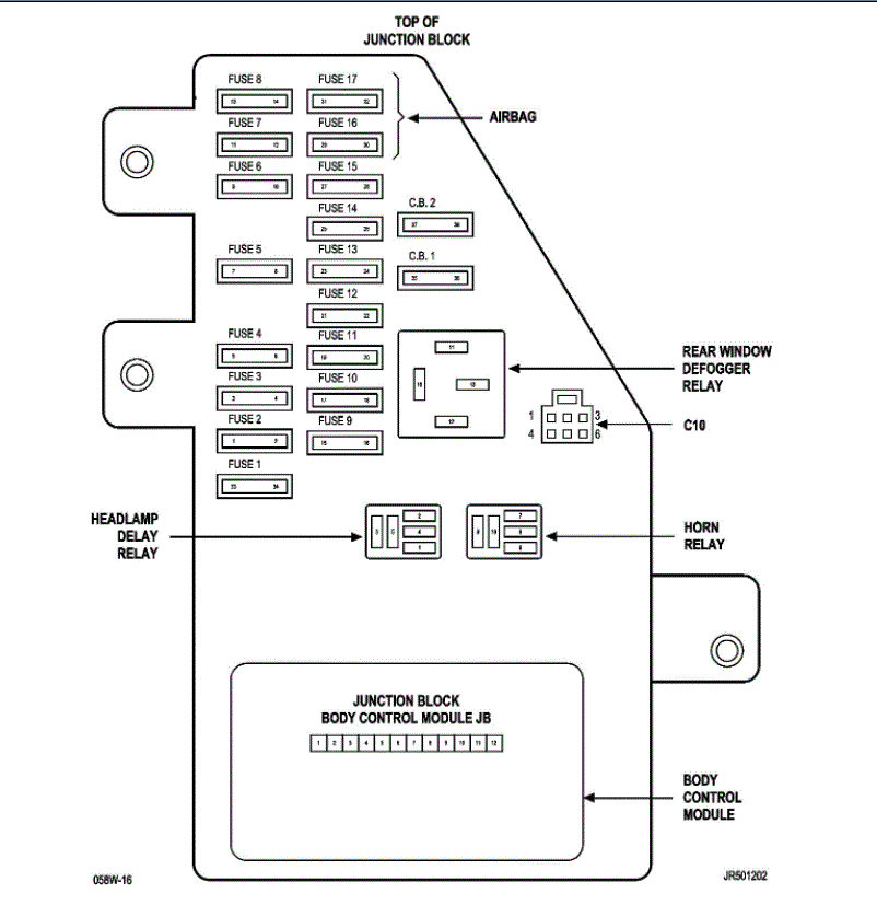
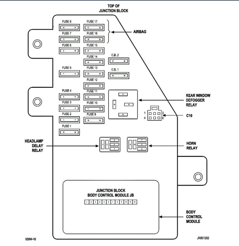
While driving she literally shuts down completely, no warning, no dummy light until she came to a complete stop. Then she wouldn't, and hasn't, started again. Starter turned, almost ruined her new battery trying. I thought maybe that I was out of gas and the gauge wasn't working properly. Had her towed home and tested via OBD? Scan tool by qualified mechanics. The scanner code was P0340, Camshaft positioning sensor. I should have asked one of them where it was located yet got sidetracked when they he's told me that I was looking at between $200.00 and $500.00 to have one of them replace it oh, kind of like a deer in headlights syndrome I guess you'd say. Figure I'm doing the rest of work on my car can't be too hard to do this. So I went and bought a new one to put in. But I don't know where it goes, Can anyone show me or tell me where it is in the car, and what tools I will need to replace it? Thank you.
















