Why will my steering wheel not lock and the engine will not start?

Tiny
DRGDRAMATIC
  • MEMBER
  • 2003 CHEVROLET SILVERADO
  • 5.3L
  • V8
  • 4WD
  • AUTOMATIC
  • 200,000 MILES
The steering wheel won't lock but keys turn. It starts with a jump but it completely will not restart the moment it's shut off. My battery is fine, and fuses are fine.
Wednesday, August 23rd, 2023 AT 11:33 AM

1 Reply

Tiny
KEN L
  • MASTER CERTIFIED MECHANIC
  • 54,325 POSTS
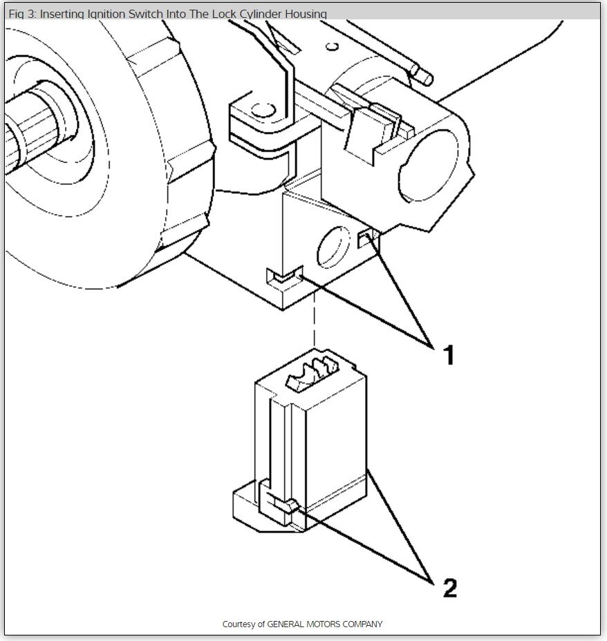
It sounds like the steering column has broken or come loose internally. Here is how to disassemble the column for inspection including the ignition lock. Check out the images (below). Let us know what happens and please upload pictures or videos of the problem so we can see what's going on.
Was this
answer
helpful?
Yes
No
+1
Thursday, August 24th, 2023 AT 11:50 AM

Please login or register to post a reply.