Friday, April 11th, 2025 AT 7:28 PM
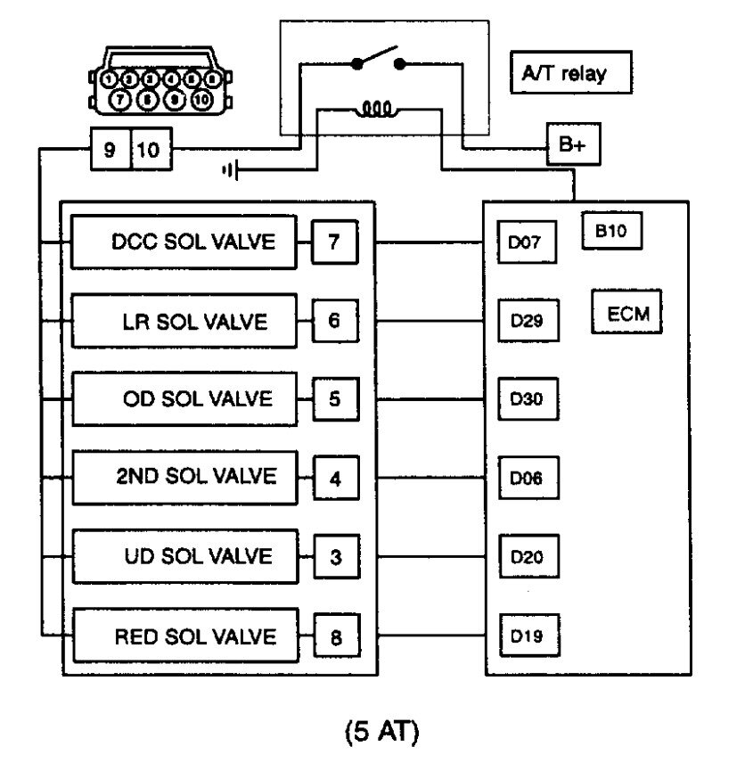
My vehicle listed above repeatedly throws a transmission code, a P0740 for possible malfunctioning Torque Converter Solenoid. In previously owned cars I have replaced shift solenoids before which requires me to drop the subframe and trans down enough to access the side panel. Is this the same for my Kia? I cannot find anything online that shows an exact location of solenoids and which one is for the torque converter. I called the Kia dealer where my work (Autobody shop) gets Kia parts from and he told me he believes you cannot distinguish which solenoid is for which, so you have to replace all 5 of them. Not sure if it's true, but I'm seeing kits for the same car and transmission where one has 5 solenoids, or 6. Thank you for any guidance.




