P1351 code starts for one second and then off

1998 CHEVROLET EXPRESS
300,000 MILES • 4.3L • V6 • 2WD • AUTOMATIC
Avatar
BRIAN FLACK
  • MEMBER
  • 3 POSTS
There was no spark and no fuel pressure but turned over. Found computer corroded. Replaced computer, module, coil. Reset the security. Now there’s spark and fuel pressure. Truck will turn over and start for 1 second and then die. I’m not sure what else would cause the p1351. I’m thinking the truck starts and then the computer cuts off the fuel probably a sensor issue?
Jan 7, 2020 at 1:00 PM
Advertisement
Avatar
ASEMASTER6371
  • CERTIFIED EXPERT
  • 52,796 POSTS
Good afternoon,

When you replaced the ECM, did you have it flashed to the VIN?

How did you do the security reset? It sounds like a security issue.

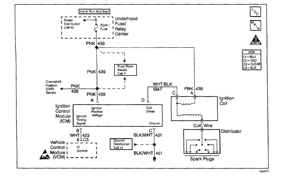
There is a lot to this code. I attached a flow chart for you to follow with the wiring diagram.

Let me know if you have any questions.


Roy

CIRCUIT DESCRIPTION

The enhanced ignition system uses the crank sensor in order to provide the timing input to the VCM. The VCM uses this reference pulse in order to determine the individual ignition spark timing for each cylinder.

Once the VCM calculates the ignition timing, the ignition coil module on the IC circuit receives the timing signal. Each timing pulse received by the ignition coil module on the IC circuit triggers the coil module in order to operate the ignition coil. The secondary ignition voltage is induced, and then the secondary ignition voltage is sent to the distributor for distribution to each spark plug.

The IC signal voltage ranges from about 0.5 volt to 4.5 volts.


CONDITIONS FOR SETTING THE DTC

The EST is enabled.

The engine speed is less than 250 RPM


ACTION TAKEN WHEN THE DTC SETS

The VCM turns the MIL ON when this DTC is reported and one failure has occurred.

The VCM records the operating conditions at the time the Diagnostic Fails. Freeze Frame and Failure Records store this information.

CONDITIONS FOR CLEARING THE MIL/DTC

^ The VCM turns the MIL OFF after 3 consecutive drive trips when the test has Run and Passed and not Failed.

A history DTC will clear if no fault conditions have been detected for 40 warm-up cycles (coolant temperature has risen 22°C (40°F) from the startup coolant temperature and the engine coolant temperature exceeds 70°C (160°F) during the same ignition cycle).

Use the scan tool Clear Information function.

Disconnect the VCM battery feed for 30 seconds.

DIAGNOSTIC AIDS

A poor connection, a rubbed through wire in the insulation, or a wire broken inside the insulation will cause an intermittent.

Check for the following conditions:

Poor connection

Damaged harness: Inspect the VCM harness connectors for the following conditions:

Backed out terminals CLR 9 and BLK 18

Improper mating

Broken locks

Improperly formed or damaged terminals

A poor terminal to wire connection and

Damage to the harness.

Intermittent test - If the connections and the harness check OK, monitor a digital voltmeter connected between VCM terminal CLR 9 and BLK 18 while moving related connectors and wiring harness. If the failure is induced, the voltage reading will change. This may help to isolate the location of the malfunction.

TEST DESCRIPTION

The numbers below refer to the step numbers in the diagnostic table.

2. This determines if the DTC is an intermittent.

3. This check determines if the IC signal from the VCM is available at the ignition coil driver.

4. The remaining tests begin to check that the coil driver circuitry is OK.
Jan 7, 2020 at 1:40 PM
Avatar
BRIAN FLACK
  • MEMBER
  • 3 POSTS
Yes the company I bought it from flashed it to the vin. I will go through these steps. Thank you.
Jan 7, 2020 at 1:53 PM
Advertisement
Avatar
ASEMASTER6371
  • CERTIFIED EXPERT
  • 52,796 POSTS
You are welcome.

Always glad to help.

Roy
Jan 7, 2020 at 2:02 PM
Avatar
BRIAN FLACK
  • MEMBER
  • 3 POSTS
Also the security issue. I turned the key on for 11 minites then off for 30 seconds and repeated like six times untill eventually the security light stopped staying on. It comes on only for a few seconds when I turn the key then goes off.
Jan 7, 2020 at 2:15 PM
Avatar
ASEMASTER6371
  • CERTIFIED EXPERT
  • 52,796 POSTS
That is normal.

Roy
Jan 7, 2020 at 2:22 PM