Code P0441

1997 CHEVROLET CAMARO
150,000 MILES • 3.8L • V6 • 2WD • MANUAL
Avatar
IGENIUS92
  • MEMBER
  • 205 POSTS
Hello, my car listed above has a rough idle and exhaust smells with smoke out tail pipe, block test done no blown head gasket. can anyone help?
Sep 23, 2021 at 7:27 PM
Repair Safety Notice: This information is for general instructional purposes only. Vehicle repair can be dangerous. Verify all information, follow manufacturer service procedures, use proper tools and safety equipment, and consult a qualified repair shop when needed.
Advertisement
Avatar
JACOBANDNICKOLAS
  • AUTOMOTIVE REPAIR CONTRIBUTOR
  • 110,190 POSTS
Hi,

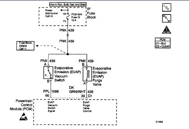
What color smoke do you see? Also, the code indicated an issue with the evap system's purge valve solenoid. This solenoid is actuated by engine vacuum, which can be causing drivability issues. However, there also are several electrical components involved.

If you are seeing dark gray/black smoke from the exhaust, there is a chance the system is running too rich due to a vacuum leak.

I attached the diagnostics below for this code. Take a look through them and let me know if it is something you are comfortable doing.

Take care,

Joe

See pics below.

Sep 23, 2021 at 8:11 PM
Advertisement
Avatar
IGENIUS92
  • MEMBER
  • 205 POSTS
Well, it's like semi grey dark smoke. no blown head gasket it already did a block test. Can you tell me or give me a graph on where my purge valve solenoid is?
Sep 26, 2021 at 12:16 PM
Avatar
IGENIUS92
  • MEMBER
  • 205 POSTS
Oh, also the connections and where the inputs and outputs are supposed to go? I may have mixed up some hoses, lol.
Sep 26, 2021 at 12:17 PM
Avatar
JACOBANDNICKOLAS
  • AUTOMOTIVE REPAIR CONTRIBUTOR
  • 110,190 POSTS
Hi,

Gray smoke is usually an indication of a rich fuel mixture (too much fuel).

If you look at pic 1 below, it shows the location of the purge valve solenoid. Pics 2 and 3 show the purge valve from two different points of view. Also, they provide the vacuum schematics.

Let me know if this helps.

Joe
Sep 26, 2021 at 7:25 PM