Mode actuator

Tiny
JONATHAN2013
  • MEMBER
  • 2013 CADILLAC CTS
  • 80,000 MILES
The air only blows through the defrost vent.
Tuesday, September 12th, 2017 AT 10:02 AM

4 Replies

Tiny
STEVE W.
  • MECHANIC
  • 15,348 POSTS
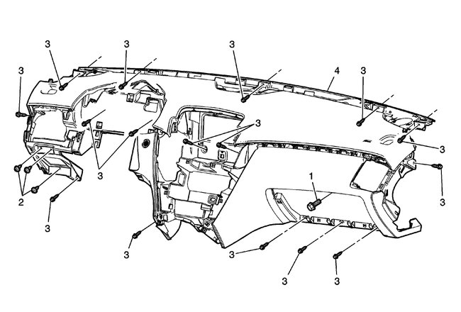
Not a difficult part to change once you get to it. That is the difficult part as you have to remove the dash panel to get to the HVAC unit. The book instructions are below along with where the actual part is.
Was this
answer
helpful?
Yes
No
+6
Tuesday, September 12th, 2017 AT 8:11 PM
Tiny
MIKECTSMADNESS
  • MEMBER
  • 1 POST
Anybody have a video of replacing a Mode Door Actuator on 2008 CTS?

Or right and left blend door actuators.
Was this
answer
helpful?
Yes
No
-2
Friday, November 22nd, 2019 AT 3:47 PM
Tiny
KASEKENNY
  • MECHANIC
  • 18,907 POSTS
The only video I could find on the internet was for a 05-07. I reviewed the process and it is close.

https://youtu.be/g26UcVIJHoU

Here is the process out of the book. Hopefully this is good enough. Thanks
Was this
answer
helpful?
Yes
No
+5
Friday, November 22nd, 2019 AT 5:18 PM
Tiny
STEVE W.
  • MECHANIC
  • 15,348 POSTS
You might find one on youtube. The mode actuators are not fun because you need to pull the dash out because GM put them on the back side of the HVAC housing tucked up in near the defroster outlet.

Left blend door https://www.youtube.com/watch?v=g26UcVIJHoU

Right blend actuator isn't much harder it's tucked up under the HVAC case in the passenger footwell. Hiding behind the blower control module. Drop the sound deadener and pull the blower module and the actuator is right there.
Was this
answer
helpful?
Yes
No
+1
Friday, November 22nd, 2019 AT 5:20 PM

Please login or register to post a reply.