Code PO420

Tiny
TORNADO33
  • MEMBER
  • 2006 HONDA CIVIC HYBRID
  • 4 CYL
  • AUTOMATIC
  • 160,000 MILES
When first starting up it sounds like a tiger growling. Sometimes the rpm's race.
Tuesday, February 12th, 2019 AT 4:38 PM

1 Reply

Tiny
JACOBANDNICKOLAS
  • MECHANIC
  • 110,176 POSTS
Hi and thanks for using 2CarPros.

The code you have is related to the catalytic converter. It indicates catalyst efficiency below threshold. Anytime I have had this code, the catalytic converter is bad. Since you hear a strange noise upon start up, have a helper start the engine while you listen near the converter to see if that is where the sound is coming from. It may be partially plugged.

Take a look through this link:

https://www.2carpros.com/articles/bad-catalytic-converter-symptoms

Here is a link showing how to check one:

https://www.2carpros.com/articles/how-to-test-a-catalytic-converter

https://www.2carpros.com/articles/catalytic-converter-replacement

I attached a picture showing the converter (Pic 1). It is right off the exhaust manifold. Check for the noise coming from there. If you determine the converter is the problem, here are the directions for removing and replacing it.

THREE WAY CATALYTIC CONVERTER REMOVAL/INSTALLATION
Three Way Catalytic Converter Removal and Installation

Three Way Catalytic Converter
Picture 2

Removal
1. Remove the engine cover.
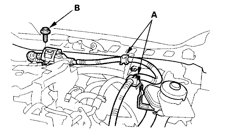
2. Remove the IMA power cable clamps (A) and the bolt (B).

Picture 3

3. Remove the cowl cover.
4. Disconnect the air fuel ratio (A/F) sensor connector (A) and the secondary heated oxygen sensor (HO2S) connector (B).

Picture 4

5. Remove the A/F sensor.

Picture 5

6. Remove the chamber cover.

Pic 6

7. Raise the vehicle on the hoist to full height.
8. Remove the front wheels.
9. Remove the engine undercover and the splash shield.
10. Remove the under-floor TWC.

Picture 7

11. Remove the right side drive shaft.

NOTE: Coat all precision finished surfaces with clean engine oil. Tie plastic bags over the drive shaft ends.

12. Remove the intermediate shaft.
13. Remove the warm up three way catalytic converter (WU-TWC) bracket (A), then remove the WU-TWC (B).

Picture 8

Installation
1. Install a new gasket (A), then install the WU-TWC (B) and tighten the bolts/nuts in a crisscross pattern in two or three steps.

Picture 9

2. Install the WU-TWC bracket (C).
3. Install the intermediate shaft.
4. Install the right side drive shaft.
5. Install the under-floor TWC (A); use new bolts (B), new gaskets (C), and new self-locking nuts (D).

Picture 10

6. Install the engine undercover and the splash shield.
7. Install the front wheels.
8. Lower the vehicle on the hoist.
9. Install the chamber cover.

Picture 11

10. Install the A/F sensor.

Picture 12

11. Connect the A/F sensor connector (A) and the H02S sensor connector (B).

Picture 13

12. Install the cowl cover.
13. Install the IMA power cable clamps (A) and the bolt (B).

Picture 14

14. Install the engine cover.

______________________________________________________
Let me know if this helps or if you have other questions

Take care,
Joe

Was this
answer
helpful?
Yes
No
Tuesday, February 12th, 2019 AT 7:55 PM

Please login or register to post a reply.