My question is this? Where to start first. I'd like to start with this code first. One at a time to keep from getting confused. 1.P2004 runner control open bank#1.
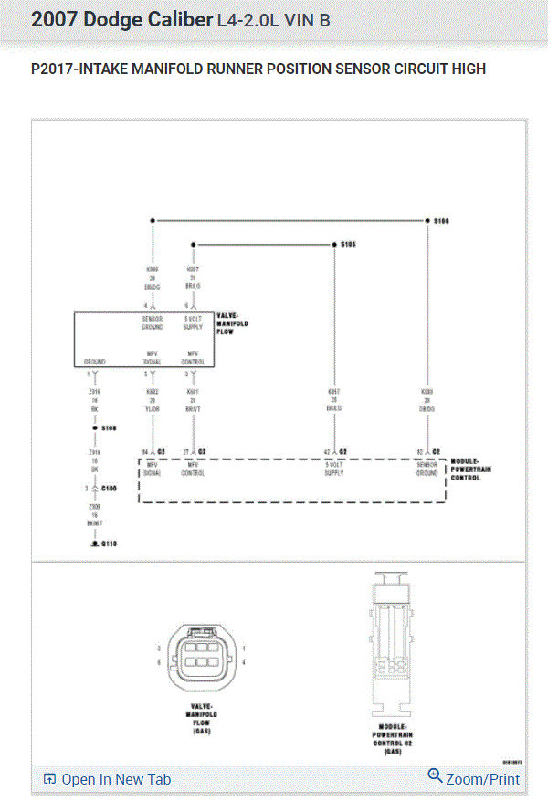
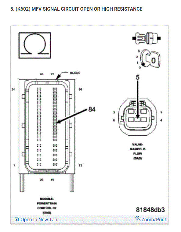
2.P2017 intake runner position/switch high bank#1.
Please help me with these two codes.
First. Added information from my previous repairs last week. Removed intake manifold disassembled butterflies and cleaned the flaps of carbon wd40 replaced intake. Replaced the throttle body same time.
Thanks. JC
Wednesday, August 18th, 2021 AT 10:08 AM


















