Wednesday, March 14th, 2018 AT 2:02 PM
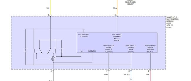
I have the truck listed above 1500 model. My Wiper blades does not work. My dome light is dim. When ever I apply the brakes my dome light goes out, the instrument cluster goes out, the cigarette outlet stops working. Thanks in advance for any help.




