Tuesday, September 22nd, 2009 AT 8:44 PM
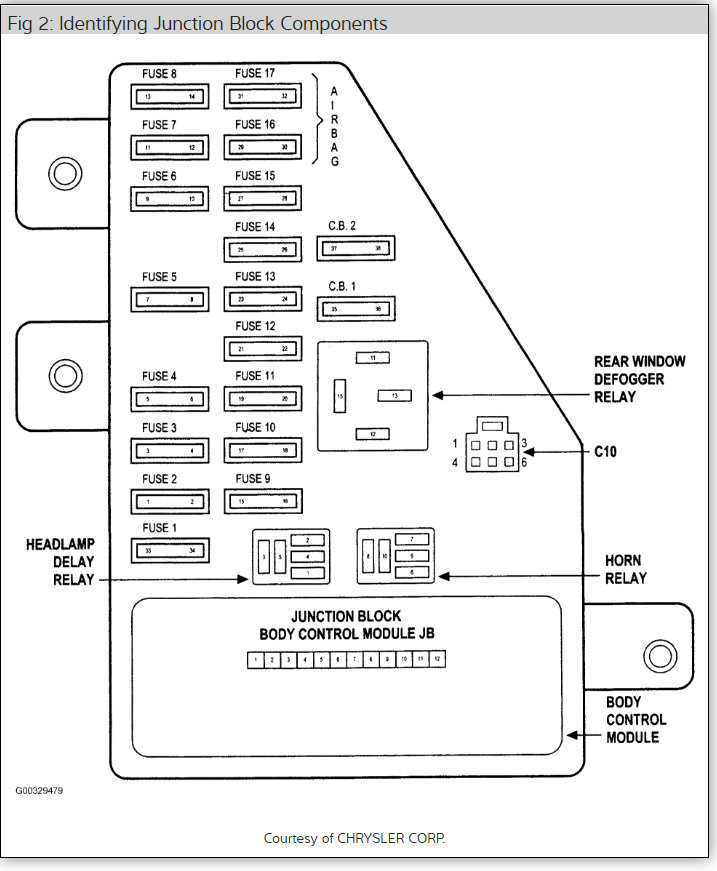
My power windows stopped working.I checked the fuse box under the hood and the ones I could check showed no broken links. I dont have a manual so I dont know which fuse (if any) controls the windows. Is there another fuse box? Please help, thank you





