Tuesday, May 14th, 2019 AT 9:04 AM
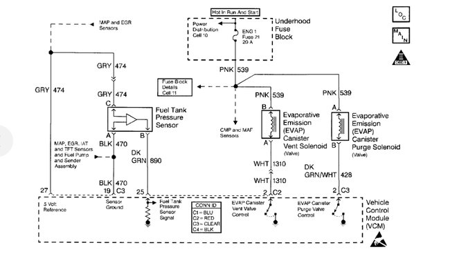
Intermittent start and stall. Sometimes get a little bit of chugging at acceleration. Need to know if it is purge valve. I don't think I'm having issues with the vent because no problems fueling. At a loss here.














