Climate panel does not work?

1995 CHEVROLET 1500
177,000 MILES • 4.3L • V6 • 2WD • AUTOMATIC
Avatar
KBM31
  • MEMBER
  • 1 POST
I got the truck and the climate panel didn’t work. I’ve checked the heater core blower motor all good. I even replaced the panel thinking it was bad but still nothing. Is it a wiring issue or a fuse blown?
Mar 8, 2019 at 7:29 AM
Advertisement
Avatar
STRAILER
  • CERTIFIED EXPERT
  • 53,855 POSTS
Hello,

it sounds like you lost power or ground somewhere. here is a guide and the HVAC wiring diagrams so you can see the fuses and grounds that run the system:

https://www.2carpros.com/articles/how-to-check-wiring

Check out the diagrams (below). Please let us know what you find. We are interested to see what it is.
Mar 9, 2019 at 2:28 PM
Avatar
JANUARY17
  • MEMBER
  • 1 POST
When the HVAC control panel is turned on or the A/C button engaged it sounds as if closes something inside the dash, then it start blowing. The arrows and the position of where the air is to come out starts racing up and down and the off button will not stop the arrows. In other words it shows up on the screen the emblem for where you want the air to come out , but you cannot stop it on any location (front vent,floor vent dash vent). It flashes up and down and the off button will not turn it off or stop the flashing up and down. Also no heat or A/C only outside air.
Dec 30, 2020 at 11:34 AM (Merged)
Advertisement
Avatar
STRAILER
  • CERTIFIED EXPERT
  • 53,855 POSTS
Hello,

It sounds like the climate control head is out here is how you replace it. Check out the diagrams (below). Please let us know what happens................
Dec 30, 2020 at 11:34 AM (Merged)
Avatar
JOHNHARBIN2021
  • MEMBER
  • 6 POSTS
The A/C control is black and I’ve checked all the fuses and got a new and still does not work.
Dec 30, 2020 at 11:34 AM (Merged)
Avatar
ASEMASTER6371
  • CERTIFIED EXPERT
  • 52,796 POSTS
Good evening,

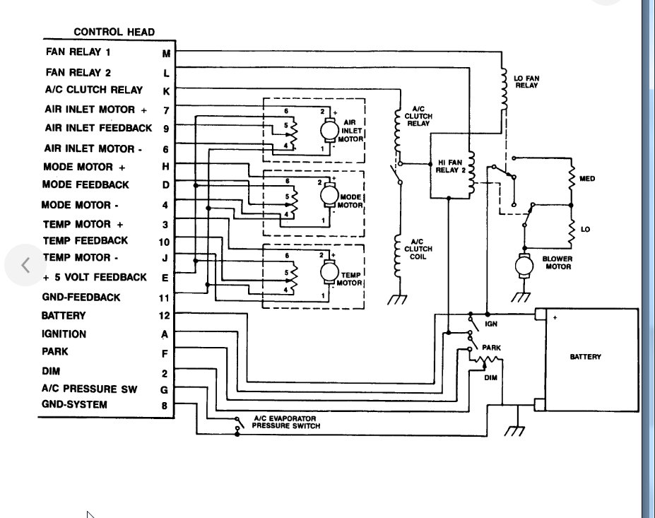
I attached the connector diagram for the control head and circled the 2 wires that need power with the key on.

Can you check that with a test light or voltmeter?

https://www.2carpros.com/articles/how-to-check-wiring

Roy
Dec 30, 2020 at 11:34 AM (Merged)
Avatar
JOHNHARBIN2021
  • MEMBER
  • 6 POSTS
I checked it and the number 2 did but 50 didn’t.
Dec 30, 2020 at 11:34 AM (Merged)
Avatar
ASEMASTER6371
  • CERTIFIED EXPERT
  • 52,796 POSTS
Check the fuses with a test light. That brown wire is fed by a fuse and comes from the ignition switch.

https://www.2carpros.com/articles/how-to-check-a-car-fuse

Roy
Dec 30, 2020 at 11:35 AM (Merged)
Avatar
JOHNHARBIN2021
  • MEMBER
  • 6 POSTS
I have check them all.
Dec 30, 2020 at 11:35 AM (Merged)
Avatar
ASEMASTER6371
  • CERTIFIED EXPERT
  • 52,796 POSTS
How much voltage was at the fuses when you checked them?

Roy
Dec 30, 2020 at 11:35 AM (Merged)
Avatar
JOHNHARBIN2021
  • MEMBER
  • 6 POSTS
Over 12.
Dec 30, 2020 at 11:35 AM (Merged)
Avatar
ASEMASTER6371
  • CERTIFIED EXPERT
  • 52,796 POSTS
Okay, if all the fuses have that voltage you have a wiring issue between the fuse block and pin 50. Without power to pin 50, the control head will not work.

Roy
Dec 30, 2020 at 11:35 AM (Merged)
Avatar
JOHNHARBIN2021
  • MEMBER
  • 6 POSTS
Do you know what fuse it would be?
Dec 30, 2020 at 11:35 AM (Merged)
Avatar
ASEMASTER6371
  • CERTIFIED EXPERT
  • 52,796 POSTS
It is marked ignition but if you checked for voltage on both sides, it does not matter. It is in the diagram I posted in the beginning.

The brown wire is broken between the fuse block and the control head.

Roy
Dec 30, 2020 at 11:35 AM (Merged)
Avatar
JOHNHARBIN2021
  • MEMBER
  • 6 POSTS
Okay, thanks.
Dec 30, 2020 at 11:35 AM (Merged)
Avatar
ASEMASTER6371
  • CERTIFIED EXPERT
  • 52,796 POSTS
You are welcome.

Always glad to help.

Roy
Dec 30, 2020 at 11:35 AM (Merged)
Avatar
BRAD1964
  • MEMBER
  • 1 POST
I started my truck one morning and the AC panel was black. I read an earlier thread and tried all the suggestions on there and no luck and I have tried another panel out of another truck and it didn't work either.
Dec 30, 2020 at 11:35 AM (Merged)
Avatar
KASEKENNY
  • CERTIFIED EXPERT
  • 18,907 POSTS
You need to check wiring at this point. Take a look at the wiring diagram and the testing. Granted this testing is for a unit that does not dim but it lays out the power and ground for the control unit which I suspect you have an issue with one of these. More than likely the ground is the issue but we need to check both.

Let me know if you have questions. Thanks

https://www.2carpros.com/articles/how-to-check-wiring
Dec 30, 2020 at 11:35 AM (Merged)