Monday, September 20th, 2010 AT 6:23 PM
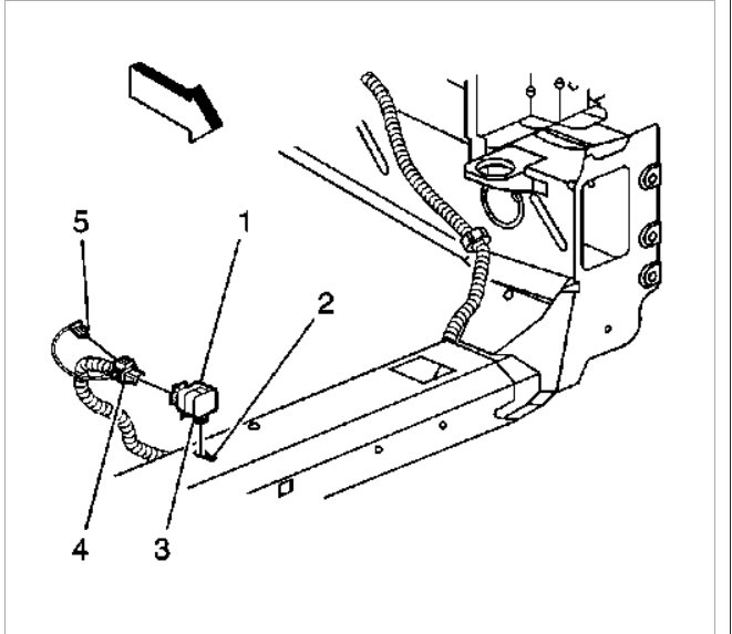
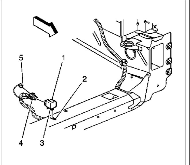
Where is the location of the air bag sensors. The air bag light is on on the dashboard. They said I needed a front sensor. Can't locate it.




