Thursday, May 12th, 2011 AT 8:24 PM
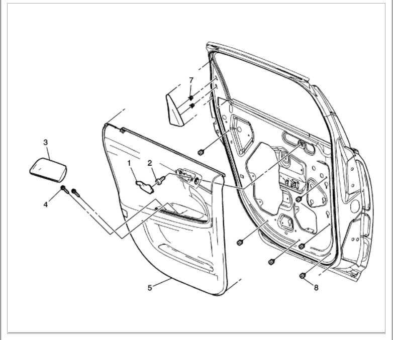
How do you remove a rear driver side door panel from a 2006 chevy impala. My door handles inside and out do not work so I need to get the door panel off from the inside.



