Tuesday, October 15th, 2019 AT 1:07 PM
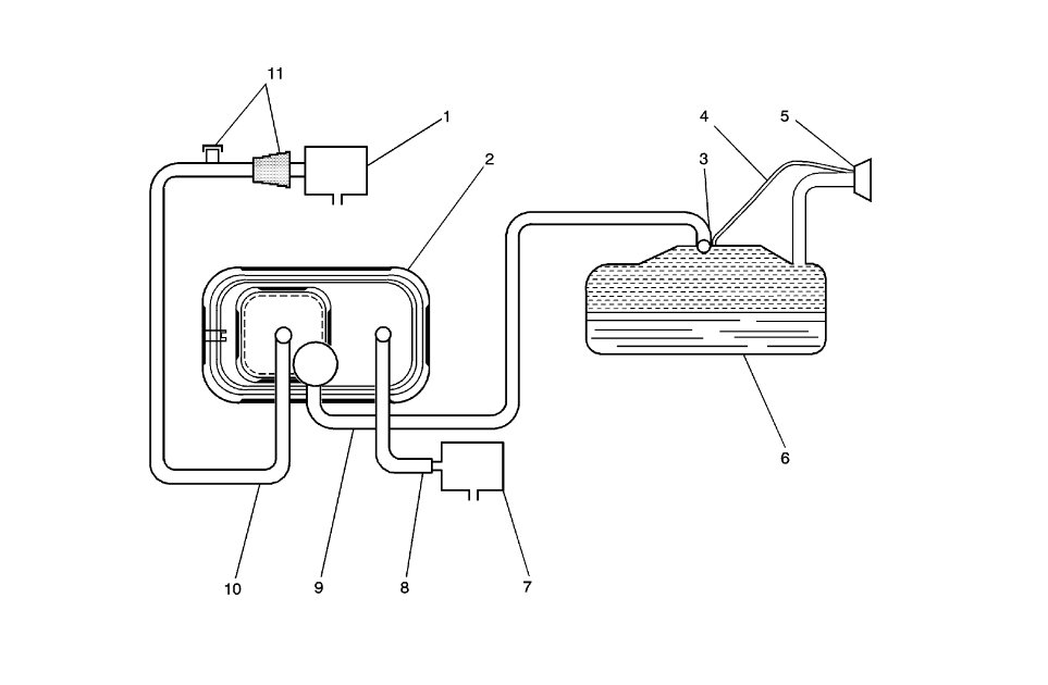
I bought the truck listed above used and within a few months the check engine light came on. I pulled the codes and they were P0499 and P0455. I took it to a dealer near me and they told me that it was a faulty gas cap. I replaced the gas cap, cleared the codes, and they came back. I took the truck to the dealer again. This time they told me that it was the canister vent solenoid or the vapor canister purge solenoid. I replaced them both and it still didn't fix the issue. I took it to the dealer again and asked them to run a smoke test to find out where it was leaking from. They told me that it was the fuel tank pressure sensor. I replaced that, but it still didn't fix the issue. I took it to another shop that was recommended to me, and they can't figure out what the issue is either. My truck cannot pass inspection like this, and I do not know how to fix this issue. I am tired of taking it to mechanics and paying a lot of money for the problem to persist. What could be wrong, and what should my next steps be?








