Monday, July 15th, 2013 AT 8:28 PM
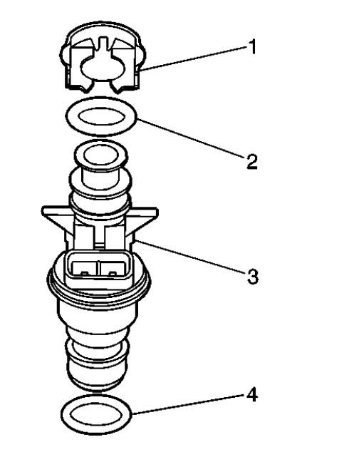
My mechanic tells me I have a bad injector on cylinder 2. I'm trying to save money by doing it myself. I'm fairly good mechanic but never worked on my hummer until now. How do I replace a faulty injector on h3 2007?



