Tuesday, September 25th, 2012 AT 12:20 AM
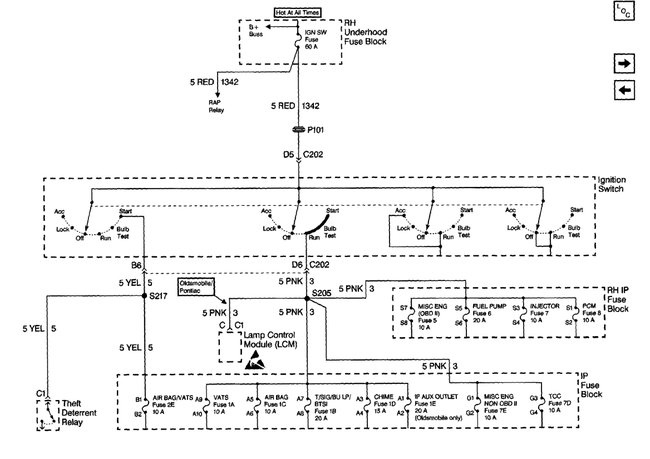
I am trying to get to the ignition switch so that I can check the wiring from ignition switch to connector I check for continuity between specified terminals with ignition switch in specified position, I didn't get no continuity between D5(RED)and D6(PINK)WIRE Didn't see anything on 1999 buick lesabre how to remove steering column trim panel can you send me more information.














