Friday, November 13th, 2015 AT 5:05 PM
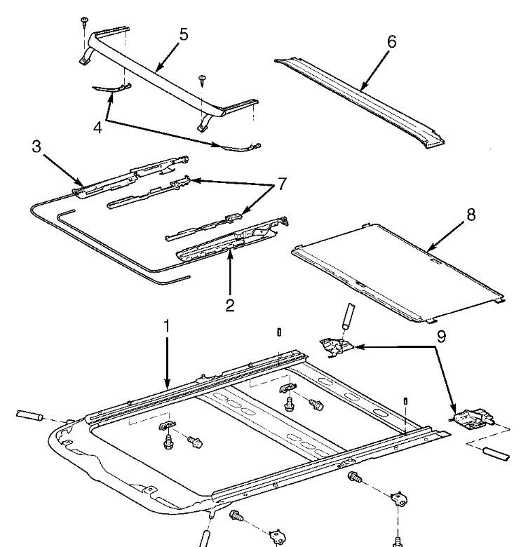
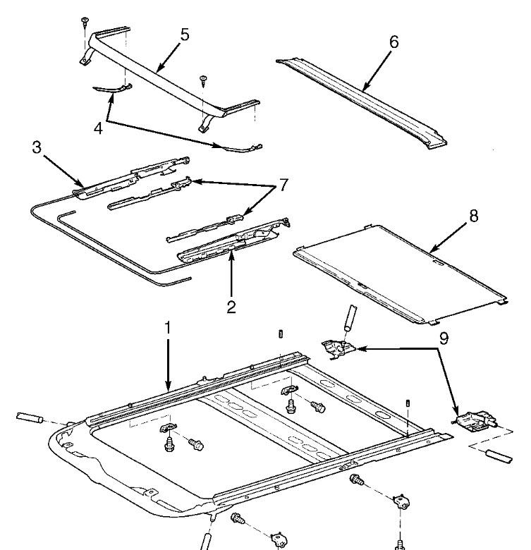
So in the moon roof open position it will slide almost shut but there's a small gap on drivers side front of the rubber gasket on the glass pice and the passenger side seems kind of squished (the corner closest to windshield on drivers side ). It seems to be off track when it goes to actually slide into the closed position and now of course it wont go into the sunroof position of course either. I did take the assembly out and when I crank the moon roof backwards it slide fine but the when you start to bring it forward with a ratchet and a t25 torx bit itautautomatically pops into sunroof mode then slides forward like it should. What would cause the moon roof in the fully open position and when you go to close it the arms on the track bring the rear of the glass up hence making the top glass off track? Any help would be greatly appreciated so much and if you need any more information please do ask. Ps I do have the whole assembly out of the car right now and winter is coming soon!






