Monday, March 18th, 2013 AT 5:39 AM
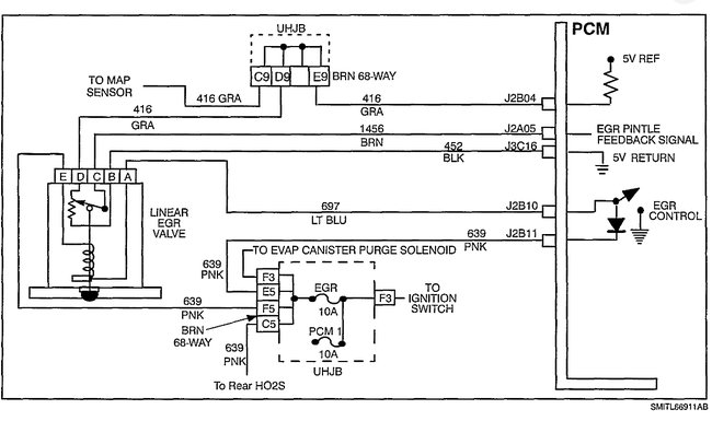
Which is a EGR code closed pintil or failed EGR. Took out the EGR cleaned it with carbon cleaner spray while pressing pintil put it back in and deleted the code. Drove a half a block p1404 code came right back. Drove for a week with service engine light on. At the end of the week the check engine light turned off. That was a month ago two days ago check engine light came back on put new EGR in drove a half a block light came back. If you can tell me what's the next step to fixing this problem, please let me know.





